设立特殊的普通合伙律师事务所
办理形式:窗口办理,网上办理
办理时间:春夏季:星期一至星期五 09:00-17:00
秋冬季:星期一至星期五 09:00-16:30
(法定节假日除外,中午不间断服务)
办理地点:吉林省长春市南关区明珠街道华新街700号,长春市政务服务中心B区综合业务窗口
咨询电话:0431-88779053
承诺办结期限:10个工作日
法定办结期限:20个工作日
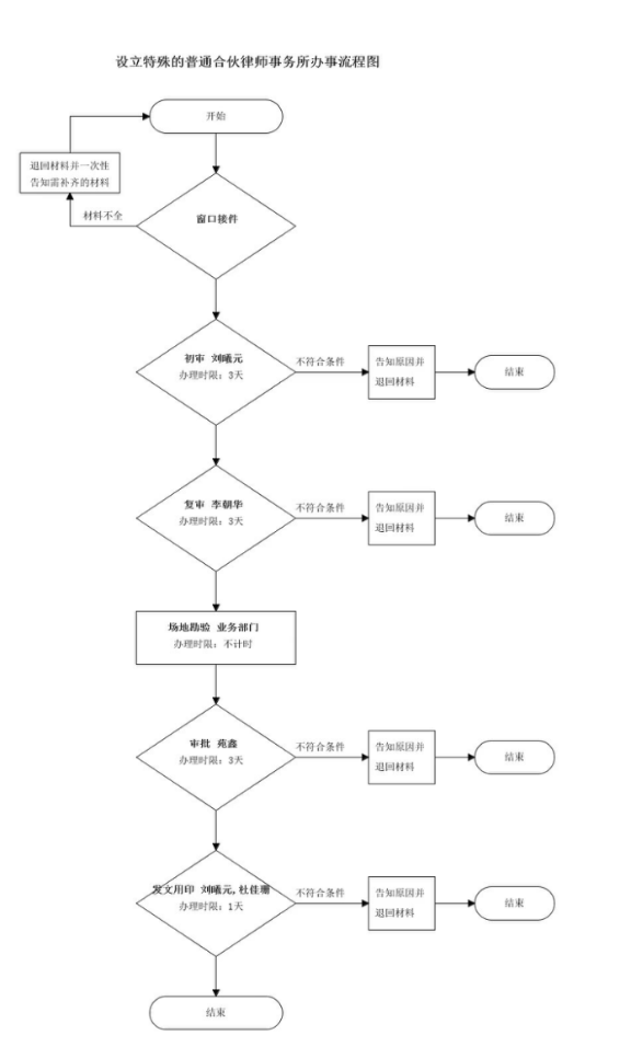
特别程序:需对拟设机构办公场所进行现场勘验,现场勘验不计入办理时限。
受理条件:
2. 有符合本法规定的律师;
3. 设立人应当是具有一定的执业经历,且三年内未受过停止执业处罚的律师;
申请材料:(市级政务中心提供免费复?。?/span>
1. 律师事务所设立申请登记表 四份原件
2. 律师事务所名称核准通知书 一份原件,三份复印件
注:该材料需按照核发部门要求在指定限期内使用,超期无效。
3. 设立人的名单 四份原件
4. 设立人身份证 一份原件,一份复印件
5. 设立人律师执业证 一份原件,一份复印件
6. 设立人简历 一份原件
7. 申请人关于与原执业机构解除聘用关系以及办结业务、档案、财务等交接手续的书面承诺 四份原件
注:书面承诺的真实性,由司法行政部门律师管理机构,依照事权,调查或者内部核查、网络核验。
8. 申请人是原律师事务所合伙人或者负责人的,还须提交原律师事务所已办理合伙协议(合伙人退出)或者负责人变更登记手续的证明 四份原件
9. 律师事务所章程 四份原件
10. 住所证明 四份原件
11. 资产证明 一份原件,三份复印件
注:原件需提交带有防伪标志版材料。
12. 设立人小二寸蓝底照片 一份原件
材料示例:
律师事务所设立申请登记表 律师事务所名称核准通知书
![]() | ![]() |
住所证明
![]() | ![]() |
![]() |
材料链接:
律师事务所设立申请登记表
办理流程:
![]() |
常见问题:
该事项从申请到审批结束需要多久?
该事项市级负责初审及将申请材料转报至吉林省司法厅,吉林省司法厅为该事项的终审机关 (决定是否批准及证件制作)。该事项在本级法定办理时限为20个工作日,为方便申请人办理,特将该事项办理时限进行压缩,即市级初审审批为5个工作日,初审审批后市级负责将申请材料转报至省级,转报时间为2个工作日;省级审批办理时限请申请人登录省级政务网站查询或拨打省级审批部门咨询电话 (0431-82752921),市级接到省级通知审批(包括证件制作)办结后2个工作日内将审批结果物(根据申请事项不同,审批结果物包含:审批表、证件、文件等)取回并完成备案,结果物的发放由市政务中心统一发放,具体领取通知以市级政务中心领取短信通知为准。(注: 申请事项如需启动特别程序的,特别程序办理时间不计入审批时限)。
编辑:韩成娟






