变更章程
办理形式:窗口办理,网上办理
办理时间:春夏季:星期一至星期五 09:00-17:00
秋冬季:星期一至星期五 09:00-16:30
(法定节假日除外,中午不间断服务)
办理地点:吉林省长春市南关区明珠街道华新街700号,长春市政务服务中心B区综合业务窗口
咨询电话:0431-88773053
承诺办结期限:5个工作日
法定办结期限:20个工作日
特别程序:如因律师事务所地址变更申请变更章程的,需对变更地址进行现场勘验。
受理条件:
(一)有自己的名称、住所和章程;(二)有符合本法规定的律师;(三)设立人应当是具有一定的执业经历,且三年内未受过停止执业处罚的律师;(四)有符合国务院司法行政部门规定数额的资产。
申请材料:(市级政务中心提供免费复?。?/span>
1. 律师事务所变更申请表 四份原件
注:申请表需使用A4纸单面打印,内容建议打印填写,可根据内容调整申请栏内字体及字号,手写需正楷填写不得涂抹;
变更申请表内变更申请栏需详细注明拟申请变更内容(具体要求可查看材料示例)。
2. 执业许可证 一份原件
注:执业许可证副本原件全部页面需上传系统,并将原件随同其它全部申请材料一并提交,需提交复印件一套。
3. 关于变更章程的合法决定或者决议 一份原件
注:复印身份证,应在一张纸上同时复印正反面。
4. 变更后的章程 一份原件,一份复印件
注:A4纸打印。该材料需按照《律师事务所管理办法》中的要求拟定,全体合伙人签字并加盖机构公章及骑缝印章。
5. 因事务所地址变更而变更章程的,须提交拟变更的住所证明 一份原件,一份复印件
注:A4纸打印。
材料示例:
律师事务所变更申请表
![]() |
![]() | ![]() |
![]() | ![]() |
![]() | ![]() |
变更后的章程(完整样表请下载)
![]() | ![]() |
![]() | ![]() |
![]() | ![]() |
变更的住所证明
![]() | ![]() |
材料链接:
律师事务所变更申请表
变更后的章程样表
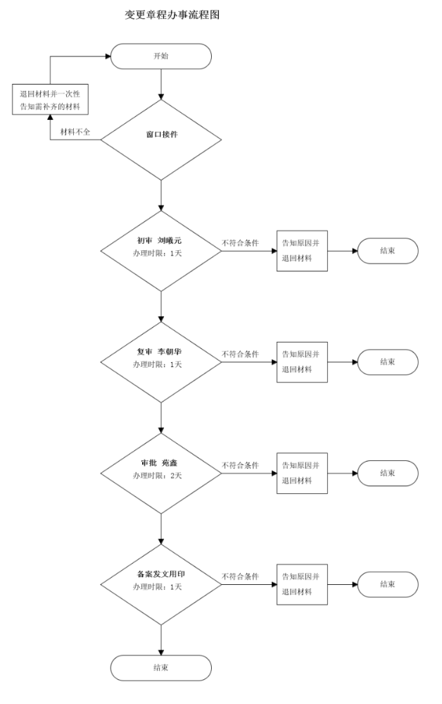
办理流程:
![]() |
常见问题:
请问该事项从申请到办结领证需要多长时间?
该事项市级负责初审及将申请材料转报至吉林省司法厅,吉林省司法厅为该事项的终审机关(决定是否批准及证件制作)。该事项在本级法定办理时限为20个工作日,为方便申请人办理,特将该事项办理时限进行压缩,即市级初审审批为5个工作日,初审审批后市级负责将申请材料转报至省级,转报时间为2个工作日;省级审批办理时限请申请人登录省级政务网站查询或拨打省级审批部门咨询电话 (0431-82752921),市级接到省级通知审批(包括证件制作)办结后2个工作日内将审批结果物 (根据申请事项不同,审批结果物包含:审批表证件、文件等)取回并完成备案,结果物的发放由市政务中心统一发放,具体领取通知以市级政务中心领取短信通知为准。
编辑:韩成娟
















