变更合伙人协议
办理形式:窗口办理,网上办理
办理时间:春夏季:星期一至星期五 09:00-17:00
秋冬季:星期一至星期五 09:00-16:30
(法定节假日除外,中午不间断服务)
办理地点:吉林省长春市南关区明珠街道华新街700号,长春市政务服务中心B区综合业务窗口
咨询电话:0431-88773053
承诺办结期限:5个工作日
法定办结期限:20个工作日
受理条件:
(一)有自己的名称、住所和章程;(二)有符合本法规定的律师;(三)设立人应当是具有一定的执业经历,且三年内未受过停止执业处罚的律师;(四)有符合国务院司法行政部门规定数额的资产。
申请材料:(市级政务中心提供免费复?。?/span>
1. 律师事务所变更申请表 四份原件
注:A4纸单面打印。表格内“变更申请”栏内容需详细填写申请内容,签写日期并加盖机构公章。
在线办理 (网申):由机构负责人实名认证注册后上传相关材料;现场办理:机构负责人本人持相关材料现场办理。
2. 执业许可证 一份原件,一份复印件
注:执业许可证副本原件需随同全部申请材料一并提交;执业许可证包含正本及副本,须上传副本原件全部页面照片。
3. 关于变更合伙协议的合伙人会议决议 一份原件,一份复印件
注:该材料需加盖公章,决议内容为多页的需另加盖骑缝印章,全体合伙人及涉及变更人本人签字。
4. 变更后的合伙协议 一份原件,一份复印件
注:须加盖骑缝印章及公章;律师事务所合伙协议需按照《律师事务所管理办法》内对合伙协议的要求拟定。
材料示例:
律师事务所变更申请表
![]() |
执业许可证
![]() | ![]() |
![]() | ![]() |
![]() | ![]() |
关于变更合伙协议的合伙人会议决议
![]() |
变更后的合伙协议(完整样表请下载)
![]() | ![]() |
材料链接:
律师事务所变更申请表
变更后的合伙协议样表
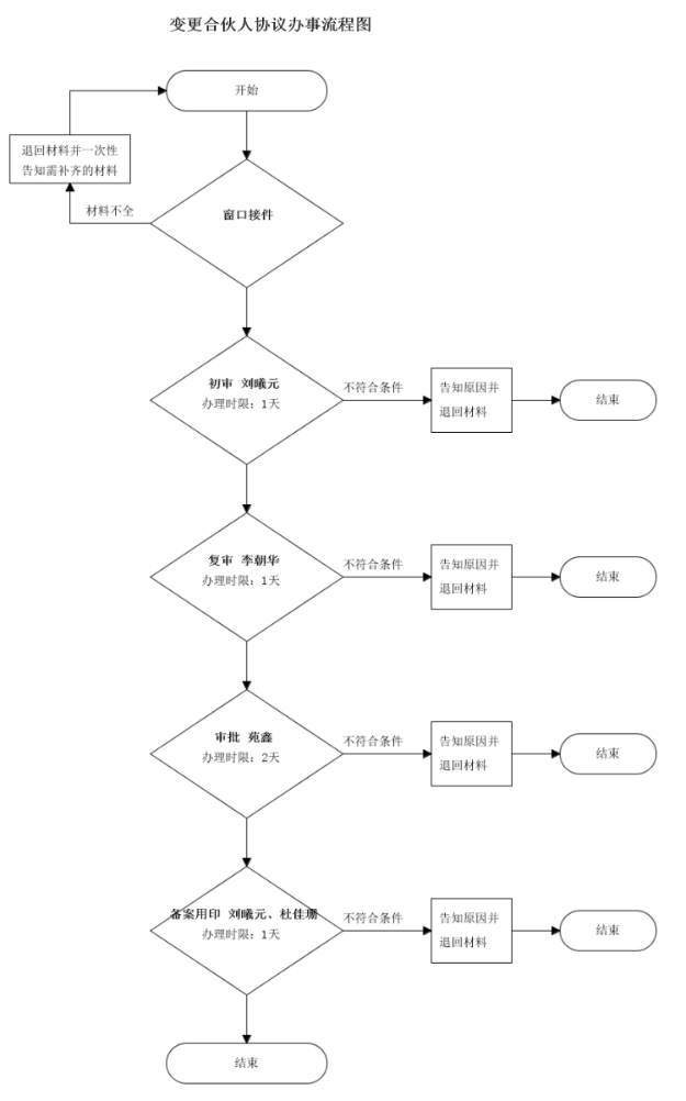
办理流程:
![]() |
常见问题:
请问该事项从申请到发证需要多长时间?
该事项市级负责初审及将申请材料转报至吉林省司法厅,吉林省司法厅为该事项的终审机关(决定是否批准及证件制作)。该事项在本级法定办理时限为20个工作日,为方便申请人办理,特将该事项办理时限进行压缩,即市级初审审批为5个工作日,初审审批后市级负责将申请材料转报至省级,转报时间为2个工作日;省级审批办理时限请申请人登录省级政务网站查询或拨打省级审批部门咨询电话 (0431-82752921),市级接到省级通知审批(包括证件制作)办结后2个工作日内将审批结果物 (根据申请事项不同,审批结果物包含:审批表证件、文件等)取回并完成备案,结果物的发放由市政务中心统一发放,具体领取通知以市级政务中心领取短信通知为准。
编辑:韩成娟











